Alex2341 Opublikowano 6 Listopada 2017 #1 Opublikowano 6 Listopada 2017 Witam ,posiadam piec defro 25 KW na ekogroszek, grzejniki, podłogówka, dwa zawory 4d ,cztery pompy, podłogowa, co, bojler,kotłowa, układ zamknięty,z dwoma zaworami bezpieczeństwa 3 bar. Chciałem zabezpieczyć kocioł przed zagotowaniem wody, nie wiem jakie rozwiązanie wybrać, czy przerobić instalacje na układ otwarty, czy zastosować wężownicę schładzającą WZS--2, czy taka wężownica zadziała w razie braku prądu?, czy ona musi pracować w grawitacji. Pozdrawiam
odpowietrznik Opublikowano 6 Listopada 2017 #2 Opublikowano 6 Listopada 2017 Po pierwsze aby kocioł mógł pracować w układzie zamkniętym producent musi dopuszczać swój produkt do takiej pracy. Załóżmy że dopuszcza to wtedy musisz mieć trzy zabezpieczenia:1)zawór schładzający dwufunkcyjny DBV ewentualnie zamiennie wężownicę schładzającą(załącznik) która współpracuje z zaworem jednofunkc.2)naczynie przeponowe odpowiedniej wielkości i zawór bezpieczeństwa.Warunkiem koniecznym jest aby woda była z sieci a nie z hydroforu(chodzi o brak prądu)W/w zabezpieczenie nie potrzebuje energii elektrycznej. Chcąc zrobić instalację w układzie otwartym musisz mieć mozliwość umieszczenia naczynia wyrównawczego w najwyższym punkcie(rura 1" lub Cu 28 bezpośrednio z kotła) Nie rozumie na co ci aż dwa zawory 4D a nawet po co jeden skoro mówisz że masz pompę kotłową która jest odpowiedzialna za utrzymanie odpowiedniej temp. na powrocie.Do podłogówki stosuje się zawory mieszające 3drogowe Najlepiej schemat instalacji
Alex2341 Opublikowano 6 Listopada 2017 Autor #3 Opublikowano 6 Listopada 2017 Na kotle jest napisane do układu zamkniętego, dlatego przymierzam się chyba do przeróbki, co do zaworów 4d, są na nich przymocowane siłowniki, jeden siłownik sterowany z K1P, a drugi Defro mz, wiem ze powinien być zamontowany drugi 3d,ale pracuje w miarę dobrze to nie chce zmieniać, co do pompy kotłowej, musiałem zamontować ponieważ do najbliższej listwy jest 20 metrów (rury idą ziemią) miałem strasznie zimny powrót, po dodaniu pompy kotłowej różnica miedzy zasilaniem a powrotem 8 stopni, teraz przymierzam się zrobić układ otwarty, myślę że to bezpieczniejsze. Czyli muszę użyć rury 28 fi , a jakie naczynie? . Jeszce mam pytanie, czy zastosowanie takiej wężownicy musi być układ grawitacyjny, bo jak braknie prądu pompy staną,i brak grawitacji to co wtedy.
Alex2341 Opublikowano 6 Listopada 2017 Autor #4 Opublikowano 6 Listopada 2017 Proszę o pomoc jaki układ otwarty czy zamknięty
kiminero Opublikowano 6 Listopada 2017 #5 Opublikowano 6 Listopada 2017 Jeszce mam pytanie, czy zastosowanie takiej wężownicy musi być układ grawitacyjny, bo jak braknie prądu pompy staną,i brak grawitacji to co wtedy. Jak braknie prądu, to wyłączy się również cały kocioł, a kotły automatyczne nie mają na palenisku takich ilości paliwa, by kocioł zagotować, tym bardziej, że odcięty zostanie tlen. Bez ryzyka możesz tą sytuację zasymulować poprzez wyjęcie wtyczki z kontaktu. Sam się przekonasz jak bardzo skoczy temperatura. Co do wężownicy, to nie wiem skąd pomysł, by układ musiał być grawitacyjny, Jak by był, to wężownica byłaby zbyteczna. Jedyny warunek, to montaż wężownicy bezpośrednio w króciec wyjściowy kotła. Zawór 3 bary jest wg mnie za duży. Sprawdź w DTR kotła jaki być powinien.
Alex2341 Opublikowano 6 Listopada 2017 Autor #6 Opublikowano 6 Listopada 2017 Kolego symulacje już robiłem, z 70 skoczy do 85, i dalej stoi, wiem rozumiem to, ale co jakby awaria czujnika, awaria sterownika,i by zagotował wodę, nie wiem może jestem za bardzo przewrażliwiony, ale wiem ze na zimne lepiej dmuchać, jeszcze mam pytanie o wężownice, to co jak braknie prądu to spełni ona swoja role, to gdzie pójdzie ten obieg zmieszanej cieplej i gorącej wody, chyba ze czegoś nie rozumiem.
kiminero Opublikowano 6 Listopada 2017 #7 Opublikowano 6 Listopada 2017 Wężownica schładzająca jest rodzajem wymiennika ciepła, gdzie spotykają się dwa obiegi, które się nie mieszają. Przez zbiornik wężownicy swobodnie przepływa woda kotłowa płynąc w kierunku instalacji. W tym zbiorniku jest upakowana właściwa wężownica schładzająca, czyli zazwyczaj miedziana rura karbowana o dużej powierzchni wymiany. Do tej rury podłącza się wodę wodociągową, za pośrednictwem zaworu jednofunkcyjnego. Zawór ten ma czujnik termostatyczny zanurzeniowy wmontowany w zbiornik wężownicy (lub bezpośrednio w kocioł), który na bieżąco bada temperaturę wody. Jeśli jest ona poniżej 95 stC to nic się nie dzieje. Powyżej tego progu zawór zaczyna się otwierać wpuszczając zimną wodę wodociągową do rury karbowanej. Ta woda nie miesza się z wodą kotłową, tylko wypływa drugim końcem na zewnątrz zbiornika wężownicy i odprowadzana jest do kanalizacji. po drodze oczywiście odbiera ciepło od wody kotłowej na drodze wymiany ciepła przez ścianki rury karbowanej. Dokładnie tak samo dział bojler z wężownicą, tylko "w drugą stronę": wężownica dostarcza ciepło do bojlera. W wężownicy schładzającej jak sama nazwa wskazuje, ciepło jest zabierane ze zbiornika wężownicy. P.S. Jak boisz się układu zamkniętego, to w zależności od warunków możesz otworzyć układ po całości lub otworzyć układ kotła, a układ odbioru zostawić zamknięty (za pomocą wymiennika płytowego). Tu istotne jest jak wysoko w tej zewnętrznej kotłowni możesz powiesić naczynie względem najwyższego punktu odbioru w domu.
Alex2341 Opublikowano 6 Listopada 2017 Autor #8 Opublikowano 6 Listopada 2017 Czyli kolego wężownica obali moje obawy, sen spokojny, tylko jeszcze która wybrać czy WZS-2, pytałem dzisiaj u mnie w sklepie, powiedział ze ta WZS-2, to jakieś rzemiosło, co o tym myśleć, mam jeszcze pytanie w lato paliłem drewnem i troszkę przygotowałem z mojej winy, przy rozpaleniu zostawiłem tryb ręczny, nawet nie wiem kiedy złapał temperaturę, dziwi mnie fakt ze żaden zawór bezpieczeństwa nie zadziałał 3 bar, a woda już wrzała, czy zmienić je na 1,5 bar.
sambor Opublikowano 6 Listopada 2017 #9 Opublikowano 6 Listopada 2017 Ciśnienie w kotle a tym samym ciśnienie zaworu nie może przekroczyć podanego przez producenta, więc prawidłowy jest ZB1,5 bara, tylko potrzebna będzie korekta ciśnienia w naczyniu przeponowym , możliwe też, że trzeba będzie je powiększyć. PS Ciśnienie próbne takiego kotła jest 1,5 x ciśnienie robocze, więc nawet ZB 2,5 jest za duży. Dopuszczalny byłby ZB 2 bary, ale jest trudniej dostępny.
kiminero Opublikowano 6 Listopada 2017 #10 Opublikowano 6 Listopada 2017 Jak to jest zwykły Defro, to max dopuszczalne ciśnienie przez producenta to 1,5 bara i teoretycznie maja błogosławieństwo do montażu w układach otwartych. Kotły Defro do układu zamkniętego mają oznaczenie "NZ" i posiadają fabryczną możliwość montażu wężownicy wewnątrz płaszcza wodnego kotła. Gdyby w układzie było 3 bary, to woda wrzeć będzie dopiero w okolicach 130 stC. Jak było 100, to jeszcze nic groźnego się nie działo nawet przy 1,5 bara. Wężownica generalnie może być dowolna. Ja za każdym razem robię test dla spokoju sumienia, przy użyciu czajnika elektrycznego z czujnikiem temperatury wewnątrz.
teres Opublikowano 6 Listopada 2017 #11 Opublikowano 6 Listopada 2017 Czyli kolego wężownica obali moje obawy, sen spokojny, tylko jeszcze która wybrać czy WZS-2, Zobacz na znanym portalu aukcyjny pod hasłem "Wężownica schładzająca STRAŻNIK do 45kW +zawór STS ". Zawory bezwzględnie zmień na 1,5 bar.
Alex2341 Opublikowano 7 Listopada 2017 Autor #12 Opublikowano 7 Listopada 2017 Zobacz na znanym portalu aukcyjny pod hasłem "Wężownica schładzająca STRAŻNIK do 45kW +zawór STS ". Zawory bezwzględnie zmień na 1,5 bar. Kolego chyba coś takiego http://allegro.pl/wezownica-schladzajaca-straznik-32kw-ocieplona-93c-i7015034723.html , a co do zaworów bezpieczeństwa mam tylko obawy czy przy odpowietrzaniu wystarczy te 1,5 bar, dlatego ze jak odpowietrzam układ to dobijam do 2 bar i odpowietrzam a później po odpowietrzeniu wyrównuję ciśnienie, czy on wtedy się nie otworzy podczas odpowietrzania?. Jeszcze jedno czyli mam rozumieć że ta wężownica schłodzi piec tylko górą, a ciekawe jak by zrobić bypass, połączyć zasilanie z powrotem na krótkim obiegu zaraz za kotłem a w środek dać zawór różnicowy, przy gotowaniu zawór by puścił na krótkim obiegu schłodzoną wódę, czy nie był by to za szybki spadek temperatury na tak krótkim obiegu, czy się mylę
teres Opublikowano 8 Listopada 2017 #13 Opublikowano 8 Listopada 2017 Tak, tylko nie bierz ocieplonej, bo nie ma potrzeby (chyba, że bardzo przeszkadza Ci strata ciepła do pomieszczenia kotłowni). Zawory daj na 1.5B, będziesz odpowietrzał na mniejszym ciśnieniu, nie będziesz miał problemów. Wężownica schładza wyjście z kotła. Może narysuj to, jak sobie wyobrażasz ten układ.
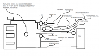
Alex2341 Opublikowano 8 Listopada 2017 Autor #14 Opublikowano 8 Listopada 2017 Tak, tylko nie bierz ocieplonej, bo nie ma potrzeby (chyba, że bardzo przeszkadza Ci strata ciepła do pomieszczenia kotłowni). Zawory daj na 1.5B, będziesz odpowietrzał na mniejszym ciśnieniu, nie będziesz miał problemów. Wężownica schładza wyjście z kotła. Może narysuj to, jak sobie wyobrażasz ten układ.
teres Opublikowano 9 Listopada 2017 #15 Opublikowano 9 Listopada 2017 Daj sobie najpierw 4D i z niego pociągnij grzejniki, a zaraz dalej 3d i z niego złap podłogę. Ja nie za bardzo widzę sens działania tego różnicowego.
Rekomendowane odpowiedzi
Zarchiwizowany
Ten temat przebywa obecnie w archiwum. Dodawanie nowych odpowiedzi zostało zablokowane.