skuterxx1 Opublikowano 22 Stycznia 2014 #1 Opublikowano 22 Stycznia 2014 Witam, Posiadam najzwyklejszy piec co w ktorym pale weglem, drewnej. Czy jest mozliwosc aby ten piec trzymał dłuzej cieplo?? Tzn czy mozna dokupic jakas automatyke czy dmuchawe do tego pieca? Do tej pory jak rozpale wiecorem w piecu to rano mam zimne kaloryfery (aluminiowe grzejniki) a jak rozpale tak na fest to rano jeszcze sa letnie ale za to w nocy nie da sie spac bo jest za cieplo. Ponizej zamieszczam zdjecia posiadanego pieca. Prosze o pomoc czy da sie go jakos rozbudowac czy trzeba bedzie go wymienic na nowszy model :)
arthi Opublikowano 22 Stycznia 2014 #2 Opublikowano 22 Stycznia 2014 Nic nie kombinuj, pal od góry ewentualnie wykonaj dodatkowo kierownicę powietrze wtórnego w drzwiach zasypowych http://www.czysteogrzewanie.pl/ http://forum.muratordom.pl/showthread.php?100061-Ekonomiczne-spalanie-w%C4%99gla-kamiennego/page26
kozik123 Opublikowano 22 Stycznia 2014 #3 Opublikowano 22 Stycznia 2014 Nie wiem jaka dokłądnie jest budowa Twojego pieca, jak wygląda wymiennik ciepła i czy sam piec jest odizolowany/ocieplony?? Sam wcześniej posiadałem piec spawany coś na pokrój Twojego, bez żadnych bajerów. Paliło sie w nim 17 lat i po "przesiadce" na defro z elektroniką nadmuchami i innymi bajerami to ten stary był jakaś porażką. Podstawowa to ocieplenie pieca aby ciepło nie uciekało do kotłowni, ja przy starym piecu kombinowałem z ociepleniem go watą plus blacha na zewnątrz i jako tako zdawało to egzamin. Tobie polecam zacząć palic og góry ( wszystko na ten temat znajdziesz na forum bądź w internecie) i nastawic pompkę CO na najniższy zakres obrotów czyli na 1 bieg, te dwie podstawowe rzeczy powinny znacząco wydłużyc stałopalność w Twoim piecu. Z paleniem od góry musisz pokombinowac z podawaniem powietrza tak aby ładnie sie paliło tzn. żeby się nie kopciło w piecu i zeby też zbytnio nie przegrzewało ci pieca, po prostu pokombinowac musisz ze sposobem i ilością podawanego powietrza z popielnika. Widze że nie masz rozetek/ miarowników ciągu na drzwiczkach więc ewentualną przeróbką która bym u Ciebie zrobił to wycięcie otworów i wstawienie w drzwiczkach takich miarowników ciągu, przy popielnikowych i tych zasypowych.
Mirek39 Opublikowano 22 Stycznia 2014 #4 Opublikowano 22 Stycznia 2014 A myślałeś o dorobieniu podajnika do kotła .
mac65 Opublikowano 22 Stycznia 2014 #5 Opublikowano 22 Stycznia 2014 Witam, Posiadam najzwyklejszy piec co w ktorym pale weglem, drewnej. Czy jest mozliwosc aby ten piec trzymał dłuzej cieplo?? Tzn czy mozna dokupic jakas automatyke czy dmuchawe do tego pieca? Do tej pory jak rozpale wiecorem w piecu to rano mam zimne kaloryfery (aluminiowe grzejniki) a jak rozpale tak na fest to rano jeszcze sa letnie ale za to w nocy nie da sie spac bo jest za cieplo. Ponizej zamieszczam zdjecia posiadanego pieca. Prosze o pomoc czy da sie go jakos rozbudowac czy trzeba bedzie go wymienic na nowszy model :) Miejsca masz dość jak za ciepło to na najbliższym złomowisku zakup za 500-700 zł zbiornik do wody o pojemności 600-1000 litrów , byle byś go mógł wstawić do kotłowni i zrób z niego bufor . Bufor podłącz do kotła a instalację do bufora . W mieszkaniu zainstaluj sterownik pokojowy do obsługi 1-ej pompy ( temperatura ustawiona włącz wyłącz pompę ) która będzie podłączona do bufora i bedzie zasilała instalację. W kotle pal jak chcesz i kiedy chcesz byle by od góry bo to górniak i ładuj tym ciepłem bufor a mieszkanie niech bierze ciepło z bufora wtedy kiedy potrzebuje . Wszystkie inne wynalazki zostaw pasjonatom chyba że chcesz się w to bawić to wstaw sobie jeszcze wersalkę do kotłowni bo jak cie to wciągnie to rodzina bedzie Cie oglądała tylko na fotkach :D A co do modelu to mój ma już 27 lat i jakos go jeszcze nie wymieniam bo lepsze zazwyczaj jest wrogiem dobrego . Pozdrawiam i ciepełka życzę .
skuterxx1 Opublikowano 25 Stycznia 2014 Autor #6 Opublikowano 25 Stycznia 2014 A myślałeś o dorobieniu podajnika do kotła . a to da sie dołaczyc do tego pieca podajnik????
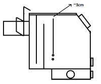
marioszx Opublikowano 25 Stycznia 2014 #8 Opublikowano 25 Stycznia 2014 Witam Podczępię swój kocioł do tematu, Ogrzewamy dom 2 piętrowy, nieocieplony, okna plastik - kocioł kupionym z 10 lat temu od faceta który się zajmuje ich robieniem.Spalam węgiel i drzewo. Nie ma zainstalowanej dmuchawy tylko pompka do wody.Chciałem usprawnić codzienne palenie które jest dosyć uciążliwe - dokładanie co 1-2h , regulacja temperatury szybrem za piecem i drzwiczkami na dole.Przeczytałem o metodzie górnego spalania ale nie jestem na 100% pewien jaki typ pieca mamWydaje mi się że jest to piec dolnego ale nie wiem po co w konstrukcji jest ta szpara 3cm pomiędzy grodziami.W załączeniu schemat i zdjęcie.Spróbować spalanie górne czy nie ma sensu? Proszę o jakieś dobre porady :)
mac65 Opublikowano 25 Stycznia 2014 #9 Opublikowano 25 Stycznia 2014 Witam Podczępię swój kocioł do tematu, Ogrzewamy dom 2 piętrowy, nieocieplony, okna plastik - kocioł kupionym z 10 lat temu od faceta który się zajmuje ich robieniem. Spalam węgiel i drzewo. Nie ma zainstalowanej dmuchawy tylko pompka do wody. Chciałem usprawnić codzienne palenie które jest dosyć uciążliwe - dokładanie co 1-2h , regulacja temperatury szybrem za piecem i drzwiczkami na dole. Przeczytałem o metodzie górnego spalania ale nie jestem na 100% pewien jaki typ pieca mam Wydaje mi się że jest to piec dolnego ale nie wiem po co w konstrukcji jest ta szpara 3cm pomiędzy grodziami. W załączeniu schemat i zdjęcie. Spróbować spalanie górne czy nie ma sensu? Proszę o jakieś dobre porady :) Konstrukcyjnie masz fajny kocioł ale brakuje mu sterowania bo sam czopuch to trochę za mało . To jest piec górno- dolny w skrucie nazywany śmieciuchem niestety Jest to jednak konstrukcja pozwalająca palaczowi wybrać pomiędzy górnym a dolnym spalaniem co jednak w Twoim przypadku przy tylko 3 cm szczelinie raczej trudne do zrealizowania . Pozostaje więc palenie na ruszcie i dosypywanie paliwa w dogodnym momencie pod warunkiem że paliwa nasypiesz tyle aby zakryło całkowicie wlot do palnika i tylko taka ilość paliwa pozwoli palić w tym kotle ekonomicznie . Palenie na ruszcie i dosypywanie po szufelce co dwie godziny mija się z celem bo wszystko to co może sie spalić i wytworzyć energie ucieka w komin wraz z dymem . Proponuje zatkać tę szczelinę nad pierwszym wymiennikiem w palenisku ( te 3 cm) a w widoczny u góry kruciec na kotle zamontować stosowny do występującej tam średnicy miarkownik ciągu . W miejscu tej dużej okrągłej rury do popielnika zamontować klapkę na zawiasie którą będzie sterował miarkownik ciągu i utrzymywał ustawiona przez ciebie temperature na miarkowniku . Pozostałe drzwiczki jeśli nie są z uszczelnieniem możesz doszczelnić silikonem do 350 C kotłowym na jeden sezon takie uszczelnienie wystarczy a potem możesz poprawić . Przy dużej ilości paliwa w komorze zasypowej jakies sterowanie mieć musisz bo sterowanie samym szybrem raczej nie wystarczy a w skrajnych przypadkach moze być niebespieczne dla domowników jeśli kotłownia ma fizyczne połączenie z przestrzenią mieszkalną . Szybrem można wspomagać jedynie pracę miarkownika jeżeli ciąg jest zbyt duży ale nie jest to zasadnicze sterowanie mocą kotła .
Rekomendowane odpowiedzi
Zarchiwizowany
Ten temat przebywa obecnie w archiwum. Dodawanie nowych odpowiedzi zostało zablokowane.