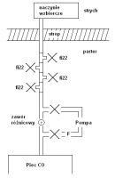
Jezol Opublikowano 22 Września 2013 #1 Opublikowano 22 Września 2013 Witam. Czy narysowana w załączniku instalacja ma racje bytu? Piec z całym rozprowadzeniem będzie znajdował się na parterze. Po obejściu pompy następuje redukja na fi28 w miedzi. Póżniej trójnikami z redukcją na fi22 zostanie rozporowadzone zasilanie na poszczególne 3 pomieszczenia i boiler. Przebije się przez strop i na strychu umieszcze naczynie wzbiorcze (będzie zaizolowane wełną mineralną). X to zawory i wszystko pójdzie w pinie jak na rysunki. Czy w takiej instalacji odpowietrznik jest wymagany, czy samo będzie się odpowietrzało przy naczyniu wzbiorczym? Jeśli jest otrzebny to mogę zrobić redukcje trójnikiem na fi15 i wypuścić rurke obok naczynia i na końcu dać odpowietrznik? Czy ten prowizoryczny mieszalnik z trójników zda rezultat gdy całość będzie ustawiona w pinie? Czy może zrobić mieszalnik z trójników w poziomie i wtedy dodać dodatkowy trójnik z którego pójdzie rurka do naczynia wzbiorczego? Z góry dziękuję za odpowiedz, pozdrawiam Marcin
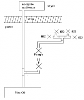
majschi Opublikowano 22 Września 2013 #2 Opublikowano 22 Września 2013 witam niestety Twój projekt zawiera poważny błąd mianowicie zawór różnicowy na rurze bezpieczeństwa Rurę bezpieczeństwa poprowadź pionowo w górę a przyłącza pionów daj na trójniku w poziomie
automatyk Opublikowano 22 Września 2013 #3 Opublikowano 22 Września 2013 Witam. Czy narysowana w załączniku instalacja ma racje bytu? Piec z całym rozprowadzeniem będzie znajdował się na parterze. Po obejściu pompy następuje redukja na fi28 w miedzi. Póżniej trójnikami z redukcją na fi22 zostanie rozporowadzone zasilanie na poszczególne 3 pomieszczenia i boiler. Przebije się przez strop i na strychu umieszcze naczynie wzbiorcze (będzie zaizolowane wełną mineralną). X to zawory i wszystko pójdzie w pinie jak na rysunki. Czy w takiej instalacji odpowietrznik jest wymagany, czy samo będzie się odpowietrzało przy naczyniu wzbiorczym? Jeśli jest otrzebny to mogę zrobić redukcje trójnikiem na fi15 i wypuścić rurke obok naczynia i na końcu dać odpowietrznik? Czy ten prowizoryczny mieszalnik z trójników zda rezultat gdy całość będzie ustawiona w pinie? Czy może zrobić mieszalnik z trójników w poziomie i wtedy dodać dodatkowy trójnik z którego pójdzie rurka do naczynia wzbiorczego? Z góry dziękuję za odpowiedz, pozdrawiam Marcin to nie przejdzie chyba ze na grawitacji bez żadnych pomp i armatury
Jezol Opublikowano 22 Września 2013 Autor #4 Opublikowano 22 Września 2013 Ok, czyli jednak opcja pozioma z dodatkowym trójnikiem do naczynia wzbiorczego. A jak sprawa z odpowietrznikem? Jest wymagany, czy instalacja sama się odpowietrzy w naczyniu wzbiorczym?
majschi Opublikowano 22 Września 2013 #5 Opublikowano 22 Września 2013 jeśli nie zrobisz syfonu to wszystko odpowietrzy się przez naczynie
automatyk Opublikowano 22 Września 2013 #6 Opublikowano 22 Września 2013 Ok, czyli jednak opcja pozioma z dodatkowym trójnikiem do naczynia wzbiorczego. A jak sprawa z odpowietrznikem? Jest wymagany, czy instalacja sama się odpowietrzy w naczyniu wzbiorczym? nadal zle rura od zbiornika bezpisrednio do kotła ma isc reszta tak jak chcesz
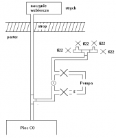
Jezol Opublikowano 22 Września 2013 Autor #7 Opublikowano 22 Września 2013 Czyli ten schemat nadal jest źle? To w takim układzie w którym miejscu ma być zawór różnicowy i obejście pompy? Myślałem, ze zawór różnicowy jest po to, że w razie jak pompa się wyłączy, to woda pójdzie do instalacji przez niego i w razie czego jej nadmiar i tak trafi do naczynia wzbiorczego ... :huh:
automatyk Opublikowano 22 Września 2013 #8 Opublikowano 22 Września 2013 to zle myślałeś, bo jak przez kulkę wróci woda jak wypluje np. parę do zbiornika????
sambor Opublikowano 22 Września 2013 #9 Opublikowano 22 Września 2013 Autor tematu popełnia błąd, zakładając że zawór różnicowy to obowiązek przy pompie. A na takich rurach to grawitacja raczej nie pójdzie. Czyli osobna rura do NP a pompa bez zaw różnicowego.
automatyk Opublikowano 22 Września 2013 #10 Opublikowano 22 Września 2013 dokładnie tak w ogóle to ostatnio jakaś plaga tych zaworów na forum jest hihi...
Jezol Opublikowano 22 Września 2013 Autor #11 Opublikowano 22 Września 2013 ok, czyli puszczam z pieca redukcje z 2" na fi28 i to bezpośrednio do naczynia wzbiorczego i gdzieś wcześniej daje trójnik z którego będzie obejście pompy i cała reszta?
sambor Opublikowano 22 Września 2013 #13 Opublikowano 22 Września 2013 Dobrze, ale bez tego zaworu różnicowego!!!
majschi Opublikowano 22 Września 2013 #15 Opublikowano 22 Września 2013 zawór różnicowy nic Ci nie da a może przyspożyć problemów
Jezol Opublikowano 22 Września 2013 Autor #16 Opublikowano 22 Września 2013 Ok zawór różnicowy wywalony (ten zawór akurat podowiedział mi znajomy). Ale co w takim układzie będzie gdy zabraknie prądu i pompa przestanie działać?
automatyk Opublikowano 22 Września 2013 #17 Opublikowano 22 Września 2013 będzie woda szła przeez pompę i tyle
sambor Opublikowano 22 Września 2013 #18 Opublikowano 22 Września 2013 Jak chcesz zapewnić działanie pompy podczas braku prądu to kup zasilacz awaryjny np UPS. A bez prądu to część wody pójdzie przez pompę a część do naczynia wraz z ew parą wodną i będziesz musiał wodę uzupełnić. Czyli widzisz jak jest ważne aby rura do NP była w pionie ! A jeszcze o zaw. różnicowym - kulka w zaworze lubi się przyklejać , albo puszczać w obie strony - czyli w pierwszym przypadku brak ew grawitacji CO a w drugim woda podawana przez pompę wraca przez zawór na zasilanie a grzejniki są zimne Tak źle i tak niedobrze. Lepiej pominąć ten zawór i liczyć na inne zabezpieczenia.
Jezol Opublikowano 22 Września 2013 Autor #19 Opublikowano 22 Września 2013 Cała instalacja sie znacznie uprościła więc poprawa na lepsze :) Jutro jade oddać niepotrzebne rzeczy i biore sie do pracy. Nie będzie żadnego problemu, że z pieca 2" jest od razu redukcja na fi28?
sambor Opublikowano 22 Września 2013 #20 Opublikowano 22 Września 2013 Nie , tak nawet lepiej , mniej skręcania - kupujesz mufę 2", korek z redukcją 2"/1".
Jezol Opublikowano 15 Października 2013 Autor #21 Opublikowano 15 Października 2013 No i wracam znów do tematu. Po kilku problemach w końcu przyjechał do mnie kocioł. Pojawił się jednak problem, gdyż w gwarancji jest punkt unieważniający ją jeśli nie zastosuje sie zaworu 3d lub 4d w instalacji ... a takiego w niej nie ma (w dodatku musi być zainstalowany zawór różnicowy więc do niego wracamy). W którym miejscu w instalacji powinien być on założony? Jeszcze przed całym objejsciem pompy? Dodam że przy grzejnikach i tak sa juz zalozone zawory termostatyczne, więc nie do końca rozumiem sens instalowania zaworu 4D (zainstaluje go tylko ze wzgledu na gwarancje).
Gość mak Opublikowano 16 Października 2013 #22 Opublikowano 16 Października 2013 Zawór 4D lub 3D jest potrzebny ze względu na ochronę powrotu, i nie ma nic wspólnego z zaworami termostatycznymi przy grzejnikach. Zawór różnicowy się stosuje gdy jest szansa na grawitacyjny odbiór ciepła np przy braku energii elektrycznej jak na grawitację nie ma szans to bardziej potrzebny jest ups dla podtrzymania pracy pompy lub wężownica schładzająca aby odprowadzić nadmiar ciepła z kotła.
tsa7 Opublikowano 16 Października 2013 #23 Opublikowano 16 Października 2013 Ja bym spytał jaki to "piec" - w kontekście zaworów termostatycznych - i jak bardzo rozbudowana instalacja? Ile i jak daleko grzejniki na tych odgałęzieniach? Grawitacja działa - gdy nie jest daleko - nawet na fi15. Więc napisz i/lub namaluj więcej szczegółów!
Rekomendowane odpowiedzi
Zarchiwizowany
Ten temat przebywa obecnie w archiwum. Dodawanie nowych odpowiedzi zostało zablokowane.