Skocz do zawartości
IGNOROWANY

Napięcie Na Panelach Pv


Rekomendowane odpowiedzi

Opublikowano

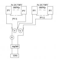
Podłączyłem 2 x po 5 paneli 23,7V szeregowo, doprowadzając te dwa obw. przewodem o identycznym przekroju poprzez regulator do UPSa i zaobserwowałem bardzo ciekawe zjawisko, po starcie systemu napięcie pierwszego obwodu PV-1 jest wyższe i różni się znacznie od drugiego PV-2, po czym nap. PV-1 spada a rośnie na PV-2 i tak kilkakrotnie następuje zamiana, przy prądzie z paneli ok. 1,8A nap. się stabilizują chociaż jest między nimi różnica i tak przy niewielkich wahaniach się to utrzymuje do końca, i znów jak prąd z paneli zaczyna spadać przy 1,8A zaczyna dziać się to samo co przy starcie,  dodam że przy zmierzchu obydwa napięcia spadają jednakowo, jak również podnoszą się przy starcie.

 

Może ktoś robił takie pomiary i potrafi to wytłumaczyć, czyżby te moje panele miały tak bardzo różne charakterystyki?, czy już są tak  wyeksploatowane?

Wszystkie są jednakowego typu i zamontowane są w tym samym miejscu.

 

 

post-69214-0-76629400-1485710845_thumb.jpg

post-69214-0-70985400-1485710883_thumb.jpg

post-69214-0-15937300-1485710907_thumb.jpg

post-69214-0-41282600-1485710929_thumb.jpg

Opublikowano

Myślę że to nie to, Podłączyłem bezpośrednio do obciążenia tj. małej mocy grzałka i to samo, ale suma tych napięć jest zawsze taka sama.

Jak prąd przekroczy 1,8A to napięcia już się nie zmieniają, dzieje się to przy małych prądach jak system startuje czy też usypia.

gdybym z ciekawości nie pomierzył tych napięć i gdybym nie miał tego wspólnego punktu pomiędzy łańcuchami i miał to połączone wszystko w szereg na dachu to bym się nie zorientował bo prąd nie wykazuje jakichś nagłych zmian, normalnie sobie rośnie czy też opada pod koniec dnia.

Myślę że te panele zmieniły trochę charakterystykę bo parę lat już mają.

 

A to PWM szuka najlepszego punktu czy MPPT? bo jeszcze się gubię.

Opublikowano

PWM to takie bardzo uproszczone MPPT.

Poczytaj na jakiej zasadzie działa PWM, bo nie chcę Cię wprowadzić w błąd przeinaczając zasadę działania tego systemu.

Zarchiwizowany

Ten temat przebywa obecnie w archiwum. Dodawanie nowych odpowiedzi zostało zablokowane.

  • Ostatnio przeglądający   0 użytkowników

    • Brak zarejestrowanych użytkowników przeglądających tę stronę.
×
×
  • Dodaj nową pozycję...

Powiadomienie o plikach cookie

Używając tej strony zgadzasz się na Polityka prywatności.